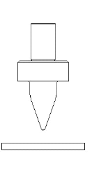
Fdrill is a solid tungsten carbide tool, capable of locally displacing material to form increased material thickness. This increased material thickness allows for a stronger fastening connection by tapping, brazing or welding.
Also know as flow drill process,form drill process,Frictiondrill process,Thermal drilling process.
Thermal drilling is a process that uses friction to produce bushings in metal tubing and flat stock.
The combined rotational and downward force of our special Thermal Drilling tool bit creates frictional heat. Temperatures can reach 900 C for the tool, and 700 C for the work piece.
The material is transformed into a "super-plastic" state, allowing the tool to displace material and form a bushing. The height of the bushing is roughly 3 to 4 times the original metal thickness.
These bushings are ideal for threaded applications, as the number and strength of threads is significantly increased. It is an excellent alternative to weld nuts or threaded inserts. The bushing can also be used as a support hole for welded, soldered or brazed connections as well as for a load-bearing surface.
The Thermal Drilling System can be used in most ferrous and non-ferrous metals including mild steel, stainless steel, copper, brass and aluminium, with material thickness up to 12 mm. In general, all malleable materials can be thermal drilled. Standard drills are available in any size up to 25.4 mm. diameter. Larger drill sizes are available on request.
No special equipment is required. Fdrill tools can be used on Standard Drilling Machines, NC or CNC Systems with motor capacities from 1.5 to 3.5 kW. Revolution speeds (RPM) required range from 1000 to 3500 RPM. Thermal Drilling is also ideal for automation because it is a chipless process, produces accurate holes, and has a long tool life.
Thermal Drilling is also well suited for short run or prototype work because of its ease of use. There is absolutely no cutting involved during the creation of the hole.
The Fdrill process can be used in any application where the material thickness does not provide support for a threaded surface or a sleeve bearing application. When you need a welded or riveted nut or a special insert, ---think Fdrill. You will improve quality and save a lot of time and money.